Bei Maschinengruppen, bei denen die Antriebs- und die angetriebene Maschine über eine Achskupplung miteinander verbunden sind, ist die am häufigsten auftretende Ursache für Vibrationen nach dem Ungleichgewicht eine falsche Ausrichtung der Achse. Die Achskupplung sowie die möglichst genaue Ausrichtung der Achse sind sehr wichtige Aufgaben zur Reduzierung der Belastung der Lager und zur Verlängerung ihrer Lebensdauer.
Folgen von Achsausrichtungsfehlern (ungenaue Einstellungen)

Typische Fehler bei der Achsausrichtung (bzw. Einachsigkeit) sind Parallelitätsfehler und Winkelfehler.

In diesem Fall ist die korrekte Ausrichtung, dass die Achsen nicht gegeneinander versetzt sind und keinen Winkel zueinander bilden.
Parallelitätsfehler
Von einem Parallelitätsfehler wird gesprochen, wenn die Achsen der mit einer Achskupplung verbundenen Maschinen parallel zueinander verschoben sind. Winkelfehler Ein Winkelfehler tritt auf, wenn die Achsen der mit einer Achskupplung verbundenen Maschinen einen Winkel zueinander bilden. Kombinierter Fehler In diesem Fall können die Achsen sogar abweichend sein.
In der Praxis treffen wir fast ausnahmslos auf die Kombination der beiden Fehler. Bei unseren Messungen ist es jedoch sinnvoll, die beiden Grundfälle des Fehlers getrennt voneinander zu behandeln. Die Grenzwerte für die "Qualität" der Ausrichtung werden auch separat in den Normen festgelegt.
Historischer Überblick
Achsausrichtung mit Richtlatte und Fühllehre Der herausragende Vorteil dieser bekannten (alten) Methode besteht darin, dass sie nur eine moderate Geräteanforderung hat. Der Nachteil besteht jedoch darin, dass sie sehr empfindlich auf die Fertigungsgenauigkeit der Achskupplung, den Zustand der verwendeten Werkzeuge und die Qualifikation des Personals reagiert. Ein weiteres Problem ist, dass die "Qualität" der Ausrichtung schwer quantifizierbar ist. Bei wichtigeren Geräten lohnt es sich auf jeden Fall, auf eine der unten aufgeführten Methoden umzusteigen.

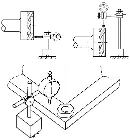
Einachsigkeitsausrichtung mit mechanischem Messgerät
Durch den Einsatz von Messgeräten kann eine angemessene Genauigkeit erreicht werden, die gemessenen Werte lassen sich gut quantifizieren, und somit kann die "Qualität" der Ausrichtung bewertet werden. Der Nachteil des Verfahrens liegt in der komplexen Installation der Geräte, der äußerst aufmerksamen Ablesung und den manuell durchzuführenden Berechnungen. Für die Messung sind zwei Messgeräte erforderlich, die radial und axial oder beidseitig radial montiert werden können. Die Messung erfolgt durch gleichzeitiges Drehen der Achsen der Achskupplungsteile.
Radiale und axiale Messung mit Messgeräten Zwei feststehende Anzeigeuhren messen die parallele Verschiebung der Kupplung (obere Uhr) und den Winkelfehler (seitliche Uhr). Die Ablesung der Messgeräte erfolgt in Positionen entsprechend 6–12–9–3 Uhr.

Zweiseitige radiale Messung Mit dieser Methode wird der Einfluss der langen und durch zwei Uhren verursachten Verformung des Befestigungsarms auf die Messung eliminiert. An den beiden Seiten der Kupplung messen die an der Welle befestigten Anzeigeuhren die Verschiebung der Drehzentren der Achsen zueinander sowie den Winkelfehler. Die Ablesung der Messgeräte erfolgt auch hier in Positionen entsprechend 6–12–9–3 Uhr. Eine der Anzeigeuhren zeigt die Verschiebung zwischen den Zentren an, der Unterschied der Werte der beiden Anzeigeuhren zeigt den Winkelfehler an.

Bei der Aufzeichnung der Daten der Messgeräte ist es ratsam, eine Glaubwürdigkeitsprüfung durchzuführen, da Ablesungsfehler (oder Interpretationsfehler) leicht auftreten können, was dazu führt, dass die Achsausrichtung zum Scheitern verurteilt ist.
Vor dem Aufkommen von Lasersystemen waren Systeme mit "Daten sammelnden und auswertenden" Einheiten in der Lage, die Daten elektromechanischer Indikatoruhren gemäß den oben genannten Prinzipien aufzuzeichnen. Nach Überprüfung der Datenakzeptanz erfolgte sofort die Berechnung des Achsfehlers und der erforderlichen Korrekturbewegungen. Die Ungenauigkeiten beim Ablesen und manuellen Rechnen wurden mit diesen Systemen beseitigt. Nachteile sind jedoch weiterhin die umständliche mechanische Ausrüstung, der relative große Platzbedarf, Messfehler durch mechanisches Spiel und die Unüberbrückbarkeit großer Entfernungen. Laserachsausrichtung Die laserbasierten Einachsausrichtgeräte basieren auf der beidseitigen radialen Methode. Anstelle von Indikatoruhren werden ein oder zwei kombinierte Laser-Sender-Empfänger-Einheiten an den Achsen des Achskopplers befestigt. Diese messen die Verschiebung zwischen den Drehachsen und den Achsfehler. Die Achsausrichtung mit solchen Systemen basiert auf dem trigonometrischen Berechnungsprinzip. Die Messwerte werden vom Auswertungssystem erfasst und sofort wird der Achsfehler sowie die erforderlichen Korrekturen berechnet. In den letzten Jahren haben sich die Lasersysteme rasant weiterentwickelt. Im Folgenden werden die Merkmale eines Entwicklungsgrades vorgestellt.
|
Einzelausrichtung mit unsichtbarem Laser Im Vergleich zu Indikatoruhren-Systemen ist die Installation einfach, es gibt kein mechanisches Spiel und es können größere Entfernungen überbrückt werden. Die Ungenauigkeiten aufgrund des mechanischen Spiels bei Messuhrenmethoden sowie Fehler beim Ablesen und manuellen Rechnen treten bei dieser Methode nicht auf. In den meisten Fällen arbeiten diese Systeme mit einer kombinierten Laser-Sender-Empfänger-Einheit und einem Reflektor.
|
|
Einzelausrichtung mit sichtbarem Laser – 1. Generation Geräte mit sichtbarem Laser sind im Vergleich zu Systemen mit unsichtbarem Laserstrahl leichter zu handhaben. Die maximale Messdistanz kann bis zu 10 m betragen, diese Systeme verwenden fast ausnahmslos zwei kombinierte Laser-Sender-Empfänger-Einheiten. Als neue Funktion wird die automatische Überprüfung des "weichen Fußes" (oder "Dreibeinigkeit") sowie die kontinuierliche Live-Anzeige während der Korrekturbewegungen eingeführt.
|
Einzelausrichtung mit sichtbarem Laser - 2. Generation In diese Kategorie gehören die derzeit besten verfügbaren Werkzeuge: Ihre Messköpfe enthalten elektronische Neigungssensoren (Inklinometer), die für kabelgebundene oder sogar drahtlose Kommunikation geeignet sind. Die Systeme erleichtern die Einstellarbeit mit mehreren neuen Funktionen:
![]() |
Die wichtigsten Vorteile:
Die praktische Bedeutung der Berechnung aus einer Drehung von weniger als 180° muss nicht erklärt werden: Jeder hat sich sicherlich schon geärgert, dass die Einbauverhältnisse keine herkömmliche Messung ermöglichten (in den Positionen 9-12-3 Uhr). Mit den neuen Systemen gibt es in solchen Fällen keine Probleme: Selbst aus geringerer Drehung - und zwar aus jeder beliebigen Position heraus - kann der Achsausrichtungsfehler sowie der Umfang der erforderlichen Korrekturen bestimmt werden.
Es darf jedoch die Drehrichtung zwischen den drei Messungen nicht geändert werden. Durch ein "Rückwärts"-Drehen würde nämlich das natürliche mechanische Spiel des Achskopplers in die Daten einfließen, was zu fehlerhaften Berechnungen führen kann.

Praktische Tipps für die Achsausrichtungsarbeit
Die Anwendung moderner Instrumente allein ist keine Garantie dafür, dass die Einstellungen perfekt sind, da sie nicht die Fehlerhaftigkeit der Wellenkupplung (Neigung, Schlag), die Schläge der Wellenenden (Krümmung) und die Fehlerhaftigkeit des Maschinenbetts (Dreibeinigkeit) beseitigen.
Vor Beginn der Wellenausrichtung ist es daher ratsam, Folgendes zu überprüfen:
Noch ein wichtiger Ratschlag: Selbst wenn wir mit modernen Instrumenten die erforderlichen Korrekturwerte mit mikrometergenauer Genauigkeit messen, ist die Durchführung der Korrektur ohne geeignete Unterlegscheiben nicht möglich. Die Unterlegscheibe muss eine gleichmäßige Dicke haben, nicht rosten, nicht brechen und sich im Laufe der Zeit nicht verflachen. Es ist am besten, vorgefertigte hochwertige Edelstahl-Unterlegscheiben (z. B. die EasyLaser-Platten der PIM Kft.) zu verwenden, da mit ihnen die Ausrichtung schnell und präzise erfolgen kann: Es muss lediglich eine Unterlegscheibe entsprechend dem vom Instrument angezeigten Korrekturwert zusammengestellt und unter die beweglichen Maschinenfüße gelegt werden, und schon ist die richtige vertikale Ausrichtung erfolgt.

Rahne Eric (PIM Kft.) pim-kft.hu, gepszakerto.hu
Der Inhalt der Veröffentlichung ist urheberrechtlich geschützt. Die (auch teilweise) Nutzung, elektronische oder gedruckte Weiterveröffentlichung ist nur mit Angabe der Quelle und des Autors sowie mit vorheriger schriftlicher Genehmigung des Autors gestattet. Die Verletzung des Urheberrechts (Copyright) hat rechtliche Konsequenzen.
Copyright © PIM Professzionális Ipari Méréstechnika Kft.
2026 | Minden jog fenntartva
Impresszum | Adatkezelés